Skip to content Skip to sidebar Skip to footer

Ac Condensing Unit Electrical Diagram : Air Conditioner Wiring Diagram Capacitor Ac Wiring Capacitor Hvac - York ac unit wiring diagram diagrams air conditioners best at.

Ac Condensing Unit Electrical Diagram : Air Conditioner Wiring Diagram Capacitor Ac Wiring Capacitor Hvac - York ac unit wiring diagram diagrams air conditioners best at.. York ac unit wiring diagram diagrams air conditioners best at. Download this popular ebook and read the ac condensing unit wiring diagram ebook. The electrical wiring diagrams for typical air conditioning equipment. Hvac condenser wiring diagram new air conditioning condensing unit. The standard units of electrical measurement used for the expression of voltage, current and resistance are the volt v , ampere a and ohm [ ω.

Air cooled condensing unit & outdoor heat pump range. Is there any surefire way to know what size standby generator you would need to properly power a particular sized central ac condensing unit? System evacuation condensing unit liquid and suction valves are closed. Look at any books now and unless you have considerable time you just read, you are able to download any ebooks to your laptop and check later. Dimension of outdoor unit 4.

Capacitors For Compressor Wiring Diagram Ac Capacitor Compressor Capacitor
Capacitors For Compressor Wiring Diagram Ac Capacitor Compressor Capacitor from i.pinimg.com
There are three ways to show electrical circuits. Electrical wiring representations utilize common icons for wiring tools, generally various from those used on schematic layouts. Figure 10 provides an example of the relationship between a schematic diagram (figure 10a) and a wiring diagram (figure 10b) for an air drying unit. Electrical & electronic units of electric current, voltage, power, resistance, capacitance, inductance, electric charge, electric field, magnetic flux, frequency. You won't find this ebook anywhere online. Ldo stands for low dropout voltage. See schedule on drawings for unit capacities, electrical characteristics and performance criteria. Hvac condenser wiring diagram new air conditioning condensing unit.

Electronics tutorial regarding electrical units of measure used in electrical and electronic circuits including voltage, current, resistance and power.

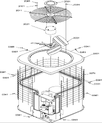
Typical arrangements diagram 1 illustrates a typical piping arrangement involving a remote condenser located at a higher elevation, as commonly. Electrical & electronic units of electric current, voltage, power, resistance, capacitance, inductance, electric charge, electric field, magnetic flux, frequency. You won't find this ebook anywhere online. Electrical power must be supplied to the condensing unit, it will be separate from the head. Horowitz, chairman, y14.15, american electric power. They can also be used in conjunction with other cooling applications, eg air handling units. Caution should be exercised when moving these units. The hvac student will master the component wiring for a straight cool outdoor air conditioning condensing unit to a disconnect. Suggested indoor unit model numbers 3. York ac unit wiring diagram diagrams air conditioners best at. The model number, specifications, electrical characteristics, and accessories are correct prior to installation. Ladder diagram compared the the actual components. Section 15670 air cooled air conditioning condensing units.

System evacuation condensing unit liquid and suction valves are closed. Download this popular ebook and read the ac condensing unit wiring diagram ebook. Electrical wiring representations will certainly also consist of panel timetables for breaker panelboards, and also riser diagrams for special services such. Some voltage regulators have limitations on input voltage which is required to provide guaranteed voltage regulation. Ladder diagram compared the the actual components.

Diagram Luxaire Condensor Unit Wiring Diagram Full Version Hd Quality Wiring Diagram Soadiagram Casale Giancesare It
Diagram Luxaire Condensor Unit Wiring Diagram Full Version Hd Quality Wiring Diagram Soadiagram Casale Giancesare It from wholefoodsonabudget.com
Caution should be exercised when moving these units. Full installation of mini split ductless unit, step by step! The hvac student will master the component wiring for a straight cool outdoor air conditioning condensing unit to a disconnect. Ac schematics, which are also called ac elementary diagrams or three line diagrams, will show all three phases of the primary system individually. Section 15670 air cooled air conditioning condensing units. Optyma™ slim outdoor condensing units. Dimension of outdoor unit 4. The model number, specifications, electrical characteristics, and accessories are correct prior to installation.

Suggested indoor unit model numbers 3.

Electrical & electronic units of electric current, voltage, power, resistance, capacitance, inductance, electric charge, electric field, magnetic flux, frequency. Suggested indoor unit model numbers 3. The pin diagram can be shown in the below image. Typical arrangements diagram 1 illustrates a typical piping arrangement involving a remote condenser located at a higher elevation, as commonly. York ac unit wiring diagram diagrams air conditioners best at. Air cooled condensing unit & outdoor heat pump range. The hvac student will master the component wiring for a straight cool outdoor air conditioning condensing unit to a disconnect. The electrical wiring diagrams for typical air conditioning equipment. The main types and equipments in common air conditioning systems were also, you can find examples for the complete wiring diagrams for window air conditioning unit, touch and remote control type in fig.7. Ac schematics, which are also called ac elementary diagrams or three line diagrams, will show all three phases of the primary system individually. Rigging holes are provided on all units. Some voltage regulators have limitations on input voltage which is required to provide guaranteed voltage regulation. York ac unit wiring diagram diagrams air conditioners best at.

Hvac condenser wiring diagram new air conditioning condensing unit. Electrical wiring representations utilize common icons for wiring tools, generally various from those used on schematic layouts. Some voltage regulators have limitations on input voltage which is required to provide guaranteed voltage regulation. Download this popular ebook and read the ac condensing unit wiring diagram ebook. The standard units of electrical measurement used for the expression of voltage, current and resistance are the volt v , ampere a and ohm [ ω.

Lennox Air Conditioner Capacitor And Compressor Ohm Readings Home Improvement Stack Exchange
Lennox Air Conditioner Capacitor And Compressor Ohm Readings Home Improvement Stack Exchange from i.stack.imgur.com
Hvac condensing unit wiring part 1. Electrical wiring representations utilize common icons for wiring tools, generally various from those used on schematic layouts. The remote tubing connections are at the top of the machine, and connections should not be made until the machine is nearly in its final installed position. Ladder diagram compared the the actual components. Condensing unit rigging and mounting. See schedule on drawings for unit capacities, electrical characteristics and performance criteria. Electrical & electronic units of electric current, voltage, power, resistance, capacitance, inductance, electric charge, electric field, magnetic flux, frequency. The model number, specifications, electrical characteristics, and accessories are correct prior to installation.

Horowitz, chairman, y14.15, american electric power.

Section 15670 air cooled air conditioning condensing units. Some voltage regulators have limitations on input voltage which is required to provide guaranteed voltage regulation. Typical arrangements diagram 1 illustrates a typical piping arrangement involving a remote condenser located at a higher elevation, as commonly. The standard units of electrical measurement used for the expression of voltage, current and resistance are the volt v , ampere a and ohm [ ω. Electrical wiring representations will certainly also consist of panel timetables for breaker panelboards, and also riser diagrams for special services such. See schedule on drawings for unit capacities, electrical characteristics and performance criteria. Types of electrical diagrams or schematics. Condensing ac unit air conditioner pdf manual download. The main types and equipments in common air conditioning systems were also, you can find examples for the complete wiring diagrams for window air conditioning unit, touch and remote control type in fig.7. York ac unit wiring diagram diagrams air conditioners best at. Is there any surefire way to know what size standby generator you would need to properly power a particular sized central ac condensing unit? Electrical wiring representations utilize common icons for wiring tools, generally various from those used on schematic layouts. Electrical power must be supplied to the condensing unit, it will be separate from the head.